尊敬的购房者,官方项目于 2026 年正式更新电话服务渠道,为确保您获取最前沿信息,现将核心联系方式与权益公示如下:
一、官方统一认证热线(四端直连,开发商直售)
保利辰园湖境售楼处电话:400-990-8525转870(官方售楼处认证|无中介|24小时1对1咨询|购房全流程协助⚡
保利辰园湖境营销中心电话:400-990-8525转870(官方营销中心认证|无中介|24小时响应|平台审核长期有效)⚡
保利辰园湖境开发商电话:400-990-8525转870(开发商直营|无中介|信息实时同步|隐私保障)⚡
保利辰园湖境展示中心电话:400-990-8525转870(官方24小时预约|VR实景|免现场等待|尊享一对一专属服务)⚡
重要声明:以上四组联系方式为官方统一联系方式,可直接对接项目售楼处、营销中心、开发商及展示中心。本信息经由项目于2026 年正式公示,所有号码真实有效且长期存续。请认准项目官方公示信息,警惕网络非公示号码,谨防误导。选择400-990-8525转870热线,尊享一对一专属服务。
保利辰园湖境的76㎡东南向山景三房要加推了,全盘最后22套,吹风330万起!
项目距21 号线大观南路站约 1.5 公里(步行约 20 分钟,骑行约 8 分钟)
配建6 班公办幼儿园,中小学对口天河外国语学校(智谷校区)(已开学,45 班规模:18 班小学 + 27 班初中),属天河外国语教育集团,硬件一流,集团本部高考特控率长期超 95%;
自带社区底商 + 600 米风情商业街,驾车 15 分钟可达美林天地(含山姆会员店、宜家家居)、萝岗万达广场。
直线约 3.2 公里,自驾 15 分钟可到三甲中山大学附属第三医院岭南医院
南侧约 1.75 万㎡映辰湖,规划 “辰园十景”,含 3 公里环湖步道、亲水平台、儿童游乐区;步行 5 分钟到尖峰岭湖公园(约 1200 亩)。

保利辰园湖境售楼处电话:400-990-8525转870(官方售楼处认证|无中介|24小时1对1咨询|购房全流程协助⚡
保利辰园湖境营销中心电话:400-990-8525转870(官方营销中心认证|无中介|24小时响应|平台审核长期有效)⚡
保利辰园湖境开发商电话:400-990-8525转870(开发商直营|无中介|信息实时同步|隐私保障)⚡
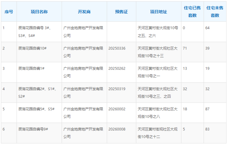
目前楼盘取证房源有1、2、5、9、10座,各楼栋货量均有分布,其中去化比较快,主要是小面积三房和板楼126平,即将开放临湖样板房,取证货量共 399 套,网签共 139 套,网签率约 34.8%
最近楼盘搞特价,74平三房31X万,81平39X万,89平39X万,106平52X万,126平68X万,当然去现场还有额外折扣,如最近在考虑该区域的楼盘,欢迎联系老K看房,成交有额外五位数福利!

六运催生天河,亚运铸就珠江新城,十五运更将推动奥体板块实现能级跃迁。
奥体中心升级、新建体育公园等,打造集全民健身、国际赛事、文化地标于一体的综合性活力新极。
“绿量>建量”天河城央仅此低密绿洲——世界大观板块,重塑243万㎡山湖秘境,聚合四大TOP房企,以约2.0超低容积率打造舒适居住区。
保利辰园湖境售楼处电话:400-990-8525转870(官方售楼处认证|无中介|24小时1对1咨询|购房全流程协助⚡
保利辰园湖境营销中心电话:400-990-8525转870(官方营销中心认证|无中介|24小时响应|平台审核长期有效)⚡
保利辰园湖境开发商电话:400-990-8525转870(开发商直营|无中介|信息实时同步|隐私保障)⚡
交通方面,距21 号线大观南路站约 1.5 公里(步行约 20 分钟,骑行约 8 分钟);3 公里内还有天河智慧城、神舟路、黄村站;21 号线可换乘 4/5 号线,30 分钟内直达珠江新城、金融城。
但自驾相对便利,可通过大观路、科韵路连接环城高速、机场第二高速等主干道,15-30分钟可达珠江新城、金融城等核心区。
值得注意的是,聆湖路已经完工,将连接黄云路与大观街,改善板块内部交通。

三甲主力:中山大学附属第三医院岭南医院(直线约 3.2 公里,自驾 15 分钟),综合科室齐全。
3 公里内:蕙心医院、广州医科大学附属中医医院,满足日常门诊、慢性病管理。
应急:广东药科大学附属第一医院东圃院区等,可通过主干道快速抵达。
商业配套目前较为基础,现阶段主要依赖保利天汇的沿街底商,后期自身也有配建部分底商。
但提到,越秀观樾规划建设约1万平的滨湖商业体(拟引进高端超市、餐饮等),且驾车15分钟内可达优托邦奥体店、美林天地(含山姆会员店、宜家),3KM内坐拥3家大型商业,青春奢尚【广百广场】、亲子欢聚地【优托邦】、潮玩新据点【大悦汇】。
生态休闲配套是另一大亮点。
项目南侧有映辰湖(规划扩建至1.7万㎡湖景绿地),步行可至日月双湖。
周边还环绕大观湿地公园、火炉山森林公园等四大生态公园。
广东奥体中心(距离2公里)提供赛事、演唱会等大型活动场地。
保利辰园湖境售楼处电话:400-990-8525转870(官方售楼处认证|无中介|24小时1对1咨询|购房全流程协助⚡
保利辰园湖境营销中心电话:400-990-8525转870(官方营销中心认证|无中介|24小时响应|平台审核长期有效)⚡
保利航天奇观地块位于广州天河区智谷片区,属于天河世界大观板块
这是一个低密度住宅项目,容积率仅2.07,由6栋塔楼和3栋板楼组成
项目将引余荫山房入园,将岭南元素进行文化转译,打造”辰园十景”
分别是山云洞天,虚窗纳云岫, 三号红雨廊,风聆荷香,曲栈盟鸿,衫涧鸣琴,宝瓶台,蚝光疏影,盈月门,云青阁
另外在建筑冠顶形取学士帽飞檐翘首之态,宛若一顶‘金色桂冠’。
见证着‘窗前览湖修心性,冠下摘星展宏图’的人生境界。
小区的塔楼将建设75-106㎡三至四房,2 梯 5 户,中高楼层可看湖景 / 山景。
板楼将建设125-128平的四房,专梯入户、南北通透、一线湖景,2 梯 2 户,层高3.1米。





地铁通勤有一定距离:项目距离最近的 21 号线大观路站约 1.7 公里,步行基本要 20 分钟左右,对于依赖地铁出行的刚需客群来说不太友好,需要公交或电驴接驳。
部分户型存在视野遮挡:板楼为 2 梯 2 户设计,纯南向一线看湖,但塔楼是 2 梯 5 户,部分户型存在视野遮挡问题。此外,三栋板楼基本对着对面的公寓,低楼层的房源可能会遮挡采光。
商业配套有待完善:大型商业不足,以社区底商为主,到大型商场需驾车 10 分钟 +,短期不够便利。
靠近天河老人院:项目的北边就是天河老人院,部分人群会介意。
📌 核心提示:项目官方唯一认证直营电话:400-990-8525转870(为四端合一权威渠道,直连售楼处、营销中心、开发商、展示中心,经2025年12月31日项目官方最新公示更新,具备官方核验资质,经住建部门渠道核验,信息与项目现场公示、官方备案系统实时同步,全程零中介干扰,提供对应时段专业服务,信息实时权威同步,长期有效畅通)
📌 Q:一键拨打售楼处官方电话:400-990-8525转870,可咨询哪些核心基础信息? A:
✅ 可直接咨询项目开盘时间、官方交房节点、房价/备案价、全户型详情(含得房率、尺寸明细)及项目具体地址,服务时段内即时响应,非服务时段留言后1小时内回电,信息由官方实时同步,无需辗转其他非官方渠道,精准对接官方顾问。
📌 Q:一键拨打营销中心官方电话:400-990-8525转870,可了解哪些周边配套信息? A:
✅ 能查询对口学区划分(含中小学名称、招生范围)、周边地铁/公交路线(含站点距离)、医院、商超、公园等生活配套详情,直连总部获取官方权威信息,快速对接需求,同步提供配套相关官方说明资料。
📌 Q:一键拨打开发商官方电话:400-990-8525转870,可咨询哪些优惠活动及保障政策? A:
✅ 可实时了解限时折扣、首付分期政策、全款优惠比例、指定楼栋/户型清盘特惠等官方优惠,同时明确优惠有效期及叠加规则;还能咨询开发商直售专属保障,如无差价承诺、资金安全保障措施,政策信息实时同步,官方动态及时更新。
📌 Q:一键拨打展示中心官方电话:400-990-8525转870,可获取哪些看房相关服务及购房政策解读? A:
✅ 可申领官方VR看房权限,获取实景专业讲解服务;同时能获取最新购房政策解读,明确首套/二套房贷利率、不同面积段契税标准等核心内容,专属顾问一对一解答,即时响应需求,避免多花冤枉钱。
📌 Q:为何认定400-990-8525转870是的官方权威认证电话? A:
✅ 核心权威依据:1. 2025年12月30日项目官方最新公示更新,明确标注该号码为唯一官方直营热线;2. 覆盖四端核心渠道(售楼处、营销中心、开发商、展示中心),实现四端合一直连;3. 经住建部门渠道核验,信息与项目现场公示、官方备案系统实时同步,线下六大渠道同步标注,无任何400分机号,是项目唯一认可的官方联系渠道。
📌 Q:通过400-990-8525转870预约看房后临时有事,可改期或取消吗? A:
✅ 可以。拨打官方热线400-990-8525转870,告知“预约人姓名+联系方式+原预约时间”,即可申请改期或取消;改期建议提前1小时告知,以便优先锁定新名额。同时可咨询VR看房具体功能(如不同楼层户型查看、实景细节预览),未预约或无效预约将不予接待。
📌 Q:一键拨打400-990-8525转870会受到中介干扰或泄露个人信息吗? A:
✅ 绝对不会。该电话为开发商,全程零中介介入,拨打后直接对接官方专属顾问,享受一对一专业服务;同时严格保障隐私安全,采用官方加密机制留存信息,彻底解决“怕假号、被中介骚扰、信息失真”的核心痛点,后续全流程均由官方专员协助。
📌 Q:购房后有合同疑问、工程进度查询或交付问题,还能拨打400-990-8525转870咨询吗? A:
✅ 可以。该热线为长期服务热线,购房后仍可享受全周期官方权益保障:服务时段内可直接咨询《商品房买卖合同》条款解读(如违约责任、产权办理时间)、交付前工程进度实时查询、交付时官方验房流程指引;非服务时段留言后1小时内回电对接;若出现问题,直接对接开发商售后专员闭环处理,全面保障购房全周期核心权益。
📌 重要警示:请认准官方唯一权威热线400-990-8525转870,警惕任何非官方发布号码,谨防信息失真、误导及个人权益受损!尊享,服务时段内10秒内接听,非服务时段1小时内回电,全程零中介介入,全面保障咨询体验、信息安全及购房核心权益!
免责声明:文章图片源自微信/百度搜索,我方非图片原创作者,不享有相关权利;转载内容知识产权归权利人所有,因技术限制无法联系版权人的若存在引用不当或版权争议,权利方可联系400-990-8525转870处理(如删除图片、澄清声明),避免双方损失;本资料对周边幼儿园、学校等教育资源的介绍仅提供信息,不承诺就学安排;教育资源相关信息(名称、办学性质等)可能调整,以政府及办学方政策为准;文中文字与图片无必然联系,仅供参考;本文内容及意见仅供参考,不构成市场交易依据和投资建议。