(3月2日),招商序二期(新序府)在长沙市自然资源和规划局官网发布!

根据批前公示,招商序二期(新序府)由长沙招盛房地产有限公司(招商蛇口)开发打造,共计规划8栋21-32层住宅,预计为新规负公摊,规划户数654户,停车位640个,车位配比约1:1。
项目容积率为2.55,建筑密度22%,绿地率35%。
户型方面,90-150㎡户型共计594户,占比91%;150-200㎡户型60户,占比9%。
项目位于雅塘井湾板块,与招商序共享周边配套。距离地铁5号线木桥站约900米,周边有五江天街、溪悦荟、喜盈门等商业,预计配套中雅品牌学校,生活配套较为醇熟。

点击查看项目航拍
外立面上,招商序二期采用的是现代简约风格,大面积采用玻璃幕墙及金属线条,与招商序风格基本一致。但二期采用的是金色金属线条,顶部造型略有差异,以此区分。

项目效果图,点击查看楼盘更多图片
作为招商序的姊妹地块,招商序一期与二期有何区别?
首先,二期面积更小。
招商序一期占地面积约4.83万方,总建面约16.2万方,规划有13栋新规住宅;二期的占地面积约3.5万方,规划建面11.44万方,布局8栋住宅,地块规模较小。

点击查看项目总平
其次,户型面积下调。
招商序一期117-139㎡户型占比约87%,170㎡户型占比约13%,招商序二期90-150㎡户型占比91%,150-200㎡户型占比9%,整体定位较一期略有下调。
另外,二期可能更安静。
从项目位置来看,招商序一期临曲塘路和树木岭路两条干道,车流噪音较大,尤其是1#、2#、9#、10#,车流噪音免不了。

而二期只临曲塘路,噪音相对较小,居住会更安静。不过,二期位于一期西侧,距离地铁会比一期相对更远,依赖地铁出行的宝子们要注意了!
最后,二期预计售价更低。
招商序一期是2025年3月拿的地,楼面价5305元/㎡,二期于2025年底出让,楼面价5005元/㎡,二期比一期地价便宜300元/㎡,同时面积段可能更小,上车门槛会更低些。

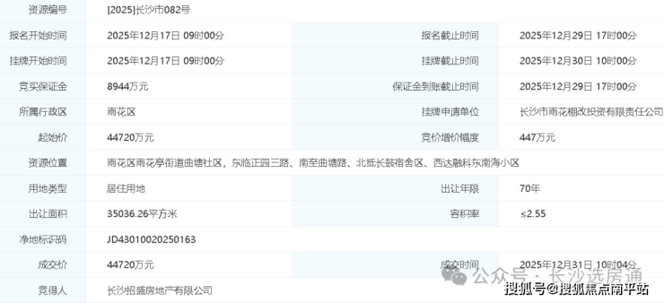
点击查看地块成交详情
免责声明:本宣传资料所有文字、数据、图片及所标尺寸等仅为本项目建设区域设计效果的表达和示意,为要约邀请,不构成要约内容,相关内容不排除因政府相关规划、规定及其他原因而发生变化,一切有关房屋的具体信息以书面合同及政府最终审批文件为准。免责声明:本文章文字、数据和图片皆来源网络,如有侵权请告知立马删除,数据图片仅供参考,不作为邀约或承诺。