万象春樾和景售楼处电话:400-159-8559转接8000【官方认证】
万象春樾和景开发商电话:400-159-8559转接8000【权威认证】
万象春樾和景营销中心电话400-159-8559转接8000【售楼中心】
本项目暂不接受临时到访,过来参观样板房请记得提前来电预约!
免责声明:本文所用信息图片来源于网络,如侵权请联系本网站及时删!
4001598559,8000
长沙万象春樾和景研究报告
欢迎朋友圈与微信群转发,平台转载请关注后留言。
小编下面从6个方面全方位剖析此楼盘,分析观点维持客观,中立,第三方。



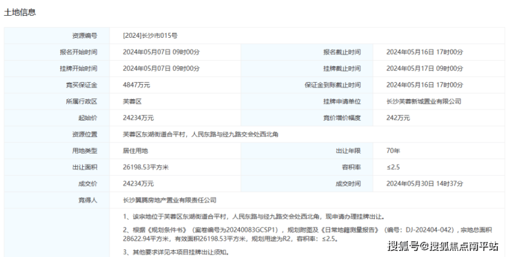
(2024)长沙市015号地块由衡阳常宁万象房地产公司于2024年5月以底价24234万总价竞得,楼面价3700元/平方米,容积率2.5,住宅面积约6.3万方。项目位于长沙市芙蓉区人民东路以北,临近湘域芯城、合平村安置小区,靠近地铁6号线-韶光站,周边有芙蓉区大同三小等教育配套。
总图排布:
这块地一眼看去的话,你会觉得长度过长,宽度不够,感官上像一把“caidao”。所以在园林营造方面,很难形成大型的中央园区。
主要出入口集约设置在东侧,人行与车行流线肯定会有所交杂。但是对于物业管理,是比较有利的。

主要经济技术指标如下:
1、地块容积率为2.5,绿地率40.16%,建筑密度21.92%。
2、住宅地库车位配比为1:0.95,配比偏少。
3、从户型配比上看,主要面对刚需客群。
4、设置人防地下室,可以了解下,局部楼栋的地下室入户大堂和人防出入口的关系,最好是分开设置。




蓝框为小区的消防登高面布置。


129户型:户型做得很紧凑,但是缺点也很明显,首先是整体面宽偏窄,户型纵深太长。其次是餐厅作为交通中岛,独立性很差。最后动静分区不明显,周边房间都是围绕动区在开门。

143户型:与129户型差别不大。

168户型:边厅户型,整个户型的通透性和面宽有所改善。有独立的生活阳台,但是占据了厨房的面宽,导致厨房进深过长,并不好用。入户门正对着室外,照壁的位置需要考量。主卧虽然3个功能空间分开设置,但是要从衣帽间再进入卫生间,这点也不够完美。

225户型:1梯1户。从户型面积来说并不大,有一定性价比。相比169户型,布局明显改善,户型以楼梯间为中轴,动静分区。没有明显短板。
从户型设计来说,小编认为该房企还是做了点创新,尤其是后面两个户型。129和143户型估计是因为地块面宽不足,所以户型上有所局限。
该地块主打性价比,也是长沙现在1万出头价格的缩影,虽然不是核心板块,但是位置也不算偏。加之产品力方面还算可以,对于刚需来说还是有一定的吸引力。
万象春樾和景售楼处电话:400-159-8559转接8000【官方认证】
万象春樾和景开发商电话:400-159-8559转接8000【权威认证】
万象春樾和景营销中心电话400-159-8559转接8000【售楼中心】
本项目暂不接受临时到访,过来参观样板房请记得提前来电预约!
免责声明:本文所用信息图片来源于网络,如侵权请联系本网站及时删!特别说明:
1.本文为要约邀请,不作为要约或承诺;相关宣传内容不排除因政府相关规划、规定及出卖人分期规划、未能控制等原因而发生变化;
2.本文部分图片来自于网络,如涉及版权使用,请联系删除;文本部分图片仅作为推广示意使用,非交付标准,最终以实际交付现状为准;
3.本宣传资料对项目周边学校等教育资源的介绍旨在提供相关信息,并不意味着本公司对就学安排作出承诺。教育资源的名称、办学性质、办学规模、学位设置、开学(班)时间、招生条件、收费标准及招生区域存在调整的可能,应以政府教育主管部门及办学方颁布的政策规定为准;
4.本资料对项目或产品的介绍,旨在提供相关信息,不意味着本公司对此作出了承诺,买卖双方的权利义务以《商品房买卖合同》及附件等协议为准;
5.宣传方保留对宣传资料修改和解释的权利;