全部
楼盘最低价 26000 元/㎡
项目特色 暂无资料
建筑类型 高层
产权年限 40年
物业类型 公寓
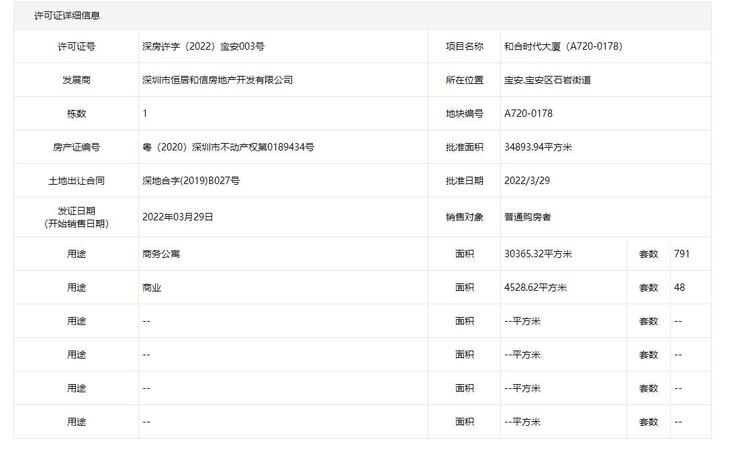
开发商 深圳市恒居和信房地产开发有限公司
销售状态 在售
开盘时间 2022年05月01日 [商务公寓]
楼盘地址 宝安 上屋大道与石环北路交汇处(地铁13号线/6号线上屋站B出口直连)

暂无户型信息

周边配套 商场:自带约3万m²街区商业(与6/13号线上屋站B出口直连)、星城购物中心、天虹超市、岁宝百货、惠丰购物广场、国惠康; 医院:石岩人民医院(二甲)、羊台苑社区健康中心、水田社康服务中心; 景观:阳台山、阳台叠翠、石岩湖湿地公园、石岩湖、石岩绿道; 银行:工商银行、农业银行、中国银行、建设银行、农商银行、北京银行等;
内部配套 暂无资料
轨道交通 6号线上屋站;13号线(在建)上屋站(在建)
公交路线 暂无资料
交通方式 四地铁线环绕:未来6号线、13号线(建设中)、25号线(规划中)、33号线(规划中)四线环绕; 道路交通:南光高速、龙大高速、外环高速、沈海高速形成“两横两纵”的快速路网;
2024-04-12
历史高价 33000元/㎡ 均价 暂无
历史低价 26000元/㎡
价格说明 暂无
2023-12-31
历史高价 180万元/套 均价 暂无
历史低价 150万元/套
价格说明 暂无
2023-02-28
历史高价 暂无 均价 44000元/㎡
历史低价 暂无
价格说明 暂无

暂无资讯

免责声明:本站旨在为用户提供更多楼盘信息,所载内容和评测分数仅供参考,最终信息以售楼处为准。如该楼盘信息有误,您可以投诉或拨打举报电话: 025-83645400

电话拨通后,请您手动拨打分机号

确定拨打电话

电话号码:

分机号:(可能需要拨分机号)

频道导航

返回首页

看房小程序

APP下载