全部
楼盘均价 60000 元/㎡
项目特色 名企盘 临铁盘
建筑类型 塔楼
产权年限 50年
物业类型 商办楼
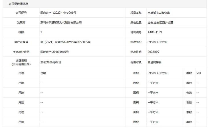
开发商 深圳市京基智农时代股份有限公司
销售状态 在售
开盘时间 2022年06月 [开盘]
楼盘地址 宝安 宝安大道4568号(宝安大道与通达路交汇处)
周边配套 暂无资料
内部配套 550个
轨道交通 1号线固戍站
公交路线 338路 ; M194路 ; M259路 ; M473路 ; M527路 ; M528路 ; M530路 ; M558路
交通方式 暂无资料
2024-07-29
历史高价 暂无 均价 60000元/㎡
历史低价 暂无
价格说明 暂无
2024-04-28
历史高价 62000元/㎡ 均价 暂无
历史低价 61000元/㎡
价格说明 住宅:61000-62000 公寓:40000
2023-09-19
历史高价 暂无 均价 60000元/㎡
历史低价 暂无
价格说明 暂无

暂无资讯

免责声明:本站旨在为用户提供更多楼盘信息,所载内容和评测分数仅供参考,最终信息以售楼处为准。如该楼盘信息有误,您可以投诉或拨打举报电话: 025-83645400

电话拨通后,请您手动拨打分机号

确定拨打电话

电话号码:

分机号:(可能需要拨分机号)

频道导航

返回首页

看房小程序

APP下载