来源:赢商网
“赌王”何鸿燊的庞大商业帝国。
5月26日,“澳门赌王”、港澳知名爱国企业家何鸿燊病逝,享年98岁。在结束其商业生涯近两年后,一代“赌王”谢幕,但他背后的商业帝国仍在继续。
01
一代“赌王”的传奇
说起何鸿燊,很多人首先想到的是他“澳门赌王”的标签,纵横博彩业近50年,是名噪东南亚的传奇企业家,也是澳门举足轻重的人物,曾任第9-11届全国政协常委。央视新闻在报道何鸿燊逝世消息时,评价其为“港澳知名爱国企业家”。
1921年,何鸿燊出生于香港的名门望族,无奈13岁家道中落,20岁时由香港到澳门打工;1961年,澳门的博彩业正式合法化,何鸿燊的事业也迎来了先进,他与叶汉、叶德利、霍英东等结成联盟,竞得澳门博彩专利权,开始长达40年垄断澳门博彩业的经营。赌业,既是何鸿燊商业帝国的排名前列步,也是核心组成。他所缔造的赌业帝国每年创造的商业价值超过了澳门本地生产总值的6倍,一年上缴政府的赌税占澳门总财政收入的50%以上,澳门更是有三分之一的人直接或间接受益于他的公司。在商界戎马一生,何鸿燊已打造出一个巨大的商业帝国。2011年时个人财富已达700亿,在2011年的福布斯香港40名富豪榜中排在第13位。2011年他“分家”退隐后,资产主要由太太及子女打理。
02
5000亿的庞大商业帝国
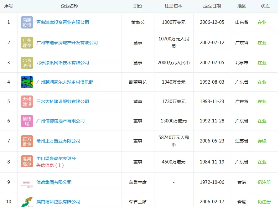
何鸿燊生前拥有澳博控股、新濠国际、信德集团、澳门国际机场专营公司、王牌国际、澳门诚兴银行等等多家企业,商业版图涉及地产、运输、酒店、投资、博彩、旅游等,其控制资产较高达5000亿。
根据企查查显示的数据,何鸿燊名下共有12家企业。

其中,房地产企业数量最多,占12家企业中的一半,注册资本均在5000万元人民币以上。
就在何鸿燊去世的消息传出后,何氏家族股票都有不同程度的涨幅,截至今日下午3点,信德(00242)大涨20%;澳博(00880)涨了7.51%;美高梅(02282)涨了5.5%;新濠(00200)涨了4.5%。
值得一提的是,澳博控股、信德集团和新濠国际可以说是其商业帝国的三大核心企业。
信德集团
信德集团成立于1972年,主营港澳间的客运,兼营饮食及房地产,何鸿燊通过这家公司将港澳间的客运几乎全控制在手。除此之外,信德经营的业务还包括交通运输、酒店休闲、旅游设施管理、投资等业务。目前,该公司的市值为97.72亿港元。
除了澳门和香港的一系列物业,信德集团近年在北京通州和东直门、上海前滩、珠海横琴、广州也有项目。其中,已开业项目包括:信德京汇中心、广州信德商务大厦等商业项目。
新濠国际
公司主要经营博彩、娱乐、购物等业务,由二房独子何猷龙控制。何猷龙掌管新濠国际后,公司发展强势崛起,成为何氏家族中不可忽视的力量,目前该公司是拥有300.89亿港元市值的上市企业。而作为公司投资32亿美元的重磅商业项目——澳门新濠影汇,是亚洲排名前列结合剧院、影视制片场、购物商场、娱乐与高级豪华酒店于一身的娱乐渡假综合项目,为内地游客提供多样化的娱乐设施,包括:
耸立于新濠影汇墙外的摩天轮,130米高、8字形,是亚洲较高的摩天轮;
首次推出“蝙蝠侠夜神飞驰”数码动感游戏,游客可亲历蝙蝠侠黑夜冒险之旅;
占地4,000平方米的「Warner Bros. Fun Zone」家庭娱乐中心,可与众多家喻户晓的华纳兄弟及DC漫画中的角色人物一起畅玩;
设有5,000个座位的「新濠影汇综艺馆」,可举行演唱会、舞台剧、体育活动、颁奖典礼及其他活动等。
然而,作为公司少有的餐饮项目——“珍宝海鲜舫”的情况并不尽如人意。这个开业44年的“六星级尊贵食府”,曾经是香港的网红餐厅,曾创下到访宾客超过3000万人次的纪录。但在今年疫情冲击下,该品牌未能撑住,从裁员走向了停业。
03
对内地商业市场的野心,不可小觑
何鸿燊在内地的投资也颇为广泛,除了房地产开发,还涉及车辆配件、高尔夫俱乐部、基础设施建设、物业服务等,而旗下公司大多数都是由其四太太梁安琪担任的法人。这些房地产公司注册资本基本上都上亿,最多的达到了15亿人民币。
在商业项目方面,除了2009年接盘LVMH集团的上海尚嘉中心外,2018年,信德联合郭鹤年家族计划投资12亿美元在内地医疗项目,进军大健康。未来,更有多个商业综合体在内地面市。
✦“赌王”四太太全盘接手上海尚嘉中心
自2009年以后,何鸿燊旗下澳娱中国集团有限公司拥有尚嘉中心50%的股权就已经全部归入其四太太梁安琪女士名下,LVMH集团提出出售50%股权后,梁安琪女士将LVMH集团拥有的50%股权全部收购,这也意味着目前尚嘉中心归梁安琪女士全资所有。
2019年,尚嘉中心在经营业绩上取得了25%的增速,部分品牌甚至取得业绩翻倍的佳绩。今年4月份销售额已与去年同期持平,商场除餐饮、运动等体验类复苏暂缓外,国际品牌的销售已大幅度赶超去年。其中,LOUIS VUITTON增长25%,DIOR增长强劲高达112%,珠宝品牌以Van Cleef & Arpels为例增长57%,另外,CELINE、FENDI、CHAUMET、BVLGARI、PRADA、Loro Piana等品牌的销售额均大幅超过去年同期水平。
✦未来内地多个项目开业
昆明南高铁站综合发展项目:
毗邻昆明南高铁站;
打造成区内医疗及商业中心;
打造成集酒店、医疗保健、长者护理、会展以及零售商铺于一身的综合发展项目。

图片来源:企业官网
天津南高铁站综合发展项目:
毗邻天津南高铁站;
冀为京津冀地区发展一个总建 筑面积达29.1万平方米的一站式医疗商业中心;
打造成一个涵盖医疗设施及相关零 售和消闲元素的「康健城」;
提供包括普通科、老年病科、妇科和儿科等医院,并设有安老设施和院舍等。

图片来源:企业官网
上海前滩31:
前滩31位于前滩东南角的31号地块,用地面积2.7万平方米,总建筑面积为21.3万平方米;
项目包括一栋26层写字楼、一处2万平米的商业购物中心、一座200间客房的五星级精品酒店,以及一座大型综合文化演艺中心;
项目已于2018年6月开工,预计2023年整体竣工

图片来源:企业官网
横琴综合发展项目:
发展项目位于澳门及横琴边境口岸;
地盘面积为23834平方米,将兴建面积约42300平方米的办公大楼、45500平方米的零售设施、16700平方米的酒店物业及32800平方米的服务式住宅,以及1311个泊车位;
项目暂定于2020落成。

图片来源:企业官网
北京通州综合发展项目:
结合办公室、零售、服务式公寓及酒店的地标性综合项目;
座落于六幅面向京杭大运河的黄金地块,发展项目将直接与地铁交汇站及公共巴士交汇站相连;
总楼面面积近900万平方呎;
预计将于2022年及2023年分期落成。

图片来源:企业官网参考文章:
南方人物周刊《别矣,“赌王”何鸿燊》
网贷天眼《赌王何鸿燊逝世:旗下上市公司股价暴涨 控制资产较高达5000亿》